建設現場や工場で見かける「I」の形をした鋼材。一見するとメジャーな「H形鋼」と同じに見えますが、実は全く別物であることをご存知でしょうか?
「H形鋼があるのになぜI形鋼が必要なの?」
「図面で『I』と指定があるけれど、H形鋼で代用していいの?」
「現場でパッと重量を計算する方法を知りたい」
そんな疑問を持つ方のために、今回はプロの視点からI形鋼(Iビーム)の特徴、H形鋼との決定的な違い、鋼材サイズの読み方、そして実務に欠かせない重量計算のやり方までを徹底解説します。
1. I形鋼(Iビーム)とは?
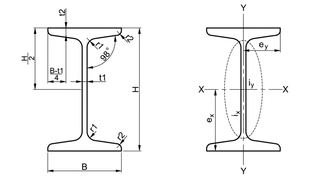
**I形鋼(I-shaped beams)**とは、断面がアルファベットの「I」の形をした、熱間圧延によって作られる形鋼の一種です。別名「Iビーム」や「ジョイスト」とも呼ばれます。
鋼材の構成はH形鋼と同様に、上下の水平部分である**「フランジ」と、それをつなぐ垂直部分の「ウェブ」**でできています。しかし、その断面形状にはI形鋼ならではの独自の工夫が隠されています。
I形鋼の最大の特徴:フランジの「テーパー」
I形鋼を横からじっくり見ると、フランジの内側が外側に向かって薄くなっているのがわかります。これを**「テーパー(勾配)」と呼びます。JIS規格(JIS G 3192)では、この内側の傾斜は1:10(約5.7度)**と定められています。
この勾配があることで、I形鋼は垂直方向の荷重に対して極めて高い剛性を発揮するのです。
2. 鋼材サイズの「書き方・見方」をマスターする
図面や見積書でよく見る「I 250×125×7.5/12.5」という表記。これを見ただけで、パッと形を想像できるのがプロの第一歩です。
基本の書き方ルール
鋼材のサイズは、一般的に以下の順番で表記されます。
①種類記号 + ②高さ(H) × ③辺の幅(B) × ④ウェブ厚(t1) / ⑤フランジ厚(t2)
例:I 250 × 125 × 7.5 / 12.5 の場合
- I:I形鋼であることを示します。
- 250:高さ(H)が 250mm
- 125:フランジの幅(B)が 125mm
- 7.5:ウェブの厚み(t1:中心の垂直板)が 7.5mm
- 12.5:フランジの厚み(t2:上下の水平板)が 12.5mm
見方のポイント
- 「/(スラッシュ)」の意味:ウェブとフランジの厚みが異なるため、スラッシュで区切って表記します。
- 単位は「mm」:建築・土木の鋼材表記は、特記がない限りすべてミリメートル単位です。
3. I形鋼の重量計算:プロが使う「2つの計算式」
積算やトラックの積載重量を確認する際、カタログが手元になくても重量を出す方法が2つあります。
① 理論重量による計算(基本)
JIS規格で定められた「単位重量(1メートルあたりの重さ)」に、長さを掛ける方法です。
重量(kg) = 単位重量(kg/m) × 長さ(m)
例:I 250×125(単位重量 38.3kg/m)を 5m 使用する場合
38.3㎏/ⅿ × 5ⅿ = 191.5kg
② 断面積から算出する計算(カタログがない時)
鋼材の密度(比重)である 7.85g/cm³ を使って、断面積から求めます。I形鋼はテーパーがあるため、簡易計算では少し誤差が出ますが、近似値を知るには十分です。
- 断面積(㎠)を算出
- 体積(㎤) = 断面積 × 長さ(m)
- 重量(㎏) = 体積 × 7.85 ÷ 1000
プロの裏技:
現場では「断面積(㎠) × 0.785 = 1mあたりの重量(㎏)」と覚えるのが最も早いです。
4. 【比較】I形鋼とH形鋼の決定的な違い
| 比較項目 | I形鋼(Iビーム) | H形鋼 |
| 断面形状 | フランジが狭く、縦に長い | フランジが広く、正方形に近いものも多い |
| フランジの内側 | テーパー(勾配)がある | 平行(勾配なし) |
| 接合のしやすさ | テーパーワッシャーが必要 | そのままボルト接合が可能 |
| 主な用途 | ホイストクレーンのレール | 建築物の柱・梁 |
I形鋼が選ばれる「希少な理由」:クレーンレール
H形鋼があるのに、なぜ今もI形鋼が作られているのか? その最大の理由は「ホイストクレーンの走行レール」としての機能です。
フランジのテーパー(勾配)が、クレーンの車輪を常に中央に寄せようとする力を生み、走行を安定させるのです。これはフラットなH形鋼には真似できない特徴です。
5. I形鋼のJIS規格(JIS G 3192)寸法・重量・断面性能表

主要なサイズのデータをまとめました。
| H×B | t1 (㎜) | t2 (㎜) | r1 (㎜) | r2 (㎜) | 断面積 A (㎠) | 単位質量 W (kg/m) |
|---|---|---|---|---|---|---|
| 100×75 | 5 | 8 | 7 | 3.5 | 16.43 | 12.9 |
| 125×75 | 5.5 | 9.5 | 9 | 4.5 | 20.45 | 16.1 |
| 150×75 | 5.5 | 9.5 | 9 | 4.5 | 21.83 | 17.1 |
| 150×125 | 8.5 | 14 | 13 | 6.5 | 46.15 | 36.2 |
| 180×100 | 6 | 10 | 10 | 5 | 30.06 | 23.6 |
| 200×100 | 7 | 10 | 10 | 5 | 33.06 | 26.0 |
| 200×150 | 9 | 16 | 15 | 7.5 | 64.16 | 50.4 |
| 250×125 | 7.5 | 12.5 | 12 | 6 | 48.79 | 38.3 |
| 250x125 | 10 | 19 | 21 | 10.5 | 70.73 | 55.5 |
| 300×150 | 8 | 13 | 12 | 6 | 61.58 | 48.3 |
| 300×150 | 10 | 18.5 | 19 | 9.5 | 83.47 | 65.5 |
| 300×150 | 11.5 | 22 | 23 | 11.5 | 97.88 | 76.8 |
| 350×150 | 9 | 15 | 13 | 6.5 | 74.58 | 58.5 |
| 350×150 | 12 | 24 | 25 | 12.5 | 111.1 | 87.2 |
| 400×150 | 10 | 18 | 17 | 8.5 | 91.73 | 72.0 |
| 400×150 | 12.5 | 25 | 27 | 13.5 | 122.1 | 95.8 |
| 450×175 | 11 | 20 | 19 | 9.5 | 116.8 | 91.7 |
| 450×175 | 13 | 26 | 27 | 13.5 | 146.1 | 115 |
| 600×190 | 13 | 25 | 25 | 12.5 | 169.4 | 133 |
| 600×190 | 16 | 35 | 38 | 19 | 224.5 | 176 |
6. まとめ:I形鋼は「垂直のスペシャリスト」
I形鋼は、現代の建築現場ではH形鋼に主役を譲っています。しかし、「クレーンレール」や「橋梁の主桁」といった、垂直方向にのみ巨大な力がかかる場所では、今でも欠かせないスペシャリストです。
サイズ表記や重量計算をマスターすることで、現場での判断スピードは格段に上がります。
鋼材選びのポイント:
- 建物の構造(柱・梁)なら H形鋼
- クレーンのレールやスリムに垂直荷重を支えるなら I形鋼
この記事が、あなたの鋼材知識のアップデートに役立てば幸いです。


コメント